启东林益机械科技有限公司欢迎您!
启东林益机械科技有限公司
全国客服热线
0513-83659898
DJB-V70型电动加油泵

DJB-V70型电动加油泵

作者:lyjxkj    来源:未知    发布时间:2018-12-04 10:19    浏览量:
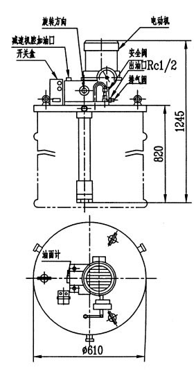
DJB-V70型电动加油泵(3.15MPa)
 

一、概述

适用于干油集中润滑系统中,向电动润滑泵的贮油器内充填润滑脂。该泵为不带贮油桶型,直接放在200L的油桶上,可以单独操作,与相应的电控装置连接可以实现电动润滑系统的自动补脂。该泵为内藏式柱塞容积泵,采用蜗轮蜗杆减速传动,运转平稳,输出压力高,出口处设置调压安全阀具有过载保护作用。

二、技术参数

 

型号
公称压力MPa
加油量mL/每次
功率kW
速比
减速箱加油量
重量kg
DJB-V70
3.15
70
0.37
1:25
0.35L
55
使用介质为锥入度265~385(25℃,150g)1/10mm的润滑脂(NLGI0#~2#)。
   
三、型号说明                 

 

四、外形尺寸

动作说明:

由垂直安装的电机经蜗杆带动蜗轮回转,在蜗轮端面上装有偏心轴,通过曲柄连杆带动柱塞上下往复运动,由活塞内部及管帽内单向阀的作用完成吸压油过程,经输油胶管向外输送。

使用说明:

1、建议按旋向箭头方向接线旋转。
2、使用的润滑脂必须干净、质地均匀,在规定牌号范围内。
3、首次使用前应向减速箱内注入润滑油(N220)至规定油面。
4、加油泵首次启动后,应先打开放气阀,正常出油后关闭。
5、不许在桶内无油脂的情况下空运转。


相关新闻推荐

在线客服 :

服务热线:0513-83659898

电子邮箱: qdlyjxkj@163.com

公司地址:启东经济技术开发区纬二路228号

启东林益机械科技有限公司,地处著名的长江三角洲开放城市江苏省启东市经济技术开发区,与上海浦东新区隔江相望,地理位置得天独厚,交通运输方便快捷。启东林益机械科技有限公司是涉及液压润滑设备、冶金石化设备、环...

友情链接: 启东南希网络科技   
Copyright © 2002-2019 启东林益机械科技有限公司 版权所有 备案号:苏ICP备13049917号-1